Mesin genset diesel dikenal memiliki performa yang tangguh, torsi besar, serta efisiensi bahan bakar yang baik untuk penggunaan jangka panjang. Oleh karena itu, genset diesel banyak digunakan pada sektor industri, perkantoran, rumah sakit, hingga fasilitas publik yang membutuhkan pasokan listrik stabil. Namun, performa genset diesel sangat bergantung pada kondisi komponen sistem bahan bakarnya, terutama injektor.

Injektor berfungsi menyemprotkan bahan bakar solar ke ruang bakar dalam tekanan dan pola semprotan tertentu. Jika injektor bermasalah, proses pembakaran menjadi tidak sempurna dan kinerja genset pun menurun. Berikut ini beberapa penyebab umum kerusakan injektor genset diesel yang perlu Anda ketahui.
1. Aliran Bahan Bakar Tidak Normal (Return Berlebih ke Tangki)
Pada kondisi normal, sebagian kecil bahan bakar memang akan kembali ke tangki melalui jalur return. Namun, jika terjadi penyumbatan atau kerusakan pada valve injektor, aliran balik bisa menjadi berlebihan. Hal ini biasanya disebabkan oleh kotoran halus, endapan, atau kualitas solar yang buruk.
Akibatnya, tekanan bahan bakar ke ruang bakar menjadi tidak stabil sehingga mesin kehilangan tenaga, brebet, atau bahkan mati mendadak. Jika kondisi ini dibiarkan, komponen injektor bisa mengalami kerusakan lebih parah dan membutuhkan perbaikan profesional.
2. Pasokan Solar Tersendat Akibat Kontaminasi
Pasokan solar yang tidak lancar juga menjadi penyebab umum injektor genset diesel bermasalah. Kontaminasi berupa debu, air, atau lumpur di dalam tangki dapat menyumbat jalur bahan bakar dan filter, lalu ikut terbawa hingga ke injektor.
Dalam kondisi tertentu, mesin genset akan sulit distarter, performanya menurun, atau bahkan tidak dapat menyala sama sekali. Oleh karena itu, penggunaan solar berkualitas dan penggantian filter bahan bakar secara rutin sangat dianjurkan untuk mencegah kerusakan injektor.
3. Keausan Injektor Akibat Umur Pakai
Injektor memiliki umur pakai. Seiring waktu dan jam kerja yang tinggi, komponen di dalam injektor dapat mengalami keausan. Salah satu tanda yang sering muncul adalah asap knalpot berwarna hitam pekat, konsumsi bahan bakar menjadi lebih boros, serta suara mesin yang tidak halus.
Asap hitam menandakan pembakaran tidak sempurna karena solar disemprotkan tidak sesuai tekanan atau pola yang seharusnya. Jika gejala ini muncul, sebaiknya injektor segera diperiksa dan dikalibrasi atau diganti sesuai kondisi.
4. Nosel Injektor Tersumbat
Nosel injektor yang tersumbat akibat kotoran di dalam solar juga dapat menyebabkan genset hanya menyala tanpa mampu menghasilkan daya listrik secara optimal. Hal ini terjadi karena bahan bakar tidak teratomisasi dengan baik di ruang bakar.
Untuk mencegah kondisi ini, pemilik genset disarankan melakukan pembersihan tangki secara berkala, mengganti filter solar tepat waktu, serta melakukan servis injektor sesuai jadwal.

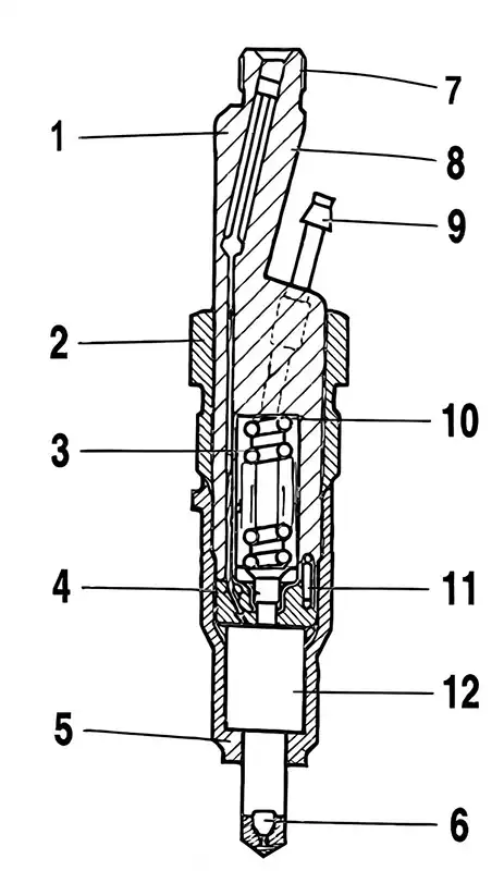
- Rod type filter → Saringan jenis batang (atau Filter batang/rod)
- Cap nut → Mur tutup (atau Mur penutup/cap nut)
- Compressing spring → Pegas tekan (atau Pegas kompresi)
- Compression pin → Pin tekan (atau Pin kompresi)
- Cap nut for fixed nozzle → Mur tutup untuk nozzle tetap (atau Mur penahan nozzle)
- Nozzle holder → Rumah nozzle (atau Pemegang nozzle/nozzle holder body)
- Connect hole for fuel delivery → Lubang sambungan untuk pengiriman bahan bakar (atau Saluran masuk bahan bakar)
- Nozzle holder → Rumah nozzle (atau Pemegang nozzle)
- Connect tube for overflow → Tabung sambungan untuk luapan (atau Pipa luapan/overflow pipe)
- Shim → Ring shim (atau Plat shim/ring penyetel)
- Pin → Pin penekan (atau Pressure pin)
- Nozzle bush → Bushing nozzle (atau Selongsong nozzle)
Pentingnya Perawatan Rutin dan Solusi Profesional Genset Diesel
Kerusakan injektor genset diesel sering kali berawal dari kurangnya perawatan rutin. Padahal, komponen injektor memiliki peran vital dalam proses pembakaran dan sangat sensitif terhadap kualitas bahan bakar serta kebersihan sistem. Pemeriksaan berkala pada injektor, filter solar, dan tangki bahan bakar menjadi langkah penting untuk mencegah gangguan performa genset di kemudian hari.
Perawatan rutin genset diesel tidak hanya membantu menjaga efisiensi bahan bakar, tetapi juga mampu memperpanjang umur mesin secara keseluruhan. Dengan perawatan yang tepat, risiko genset mengalami mogok mendadak, penurunan daya listrik, hingga kerusakan komponen utama dapat diminimalkan. Hal ini tentu sangat penting, terutama bagi sektor industri, perkantoran, dan fasilitas vital yang bergantung pada suplai listrik tanpa gangguan.
Namun, apabila injektor sudah mengalami keausan parah, tersumbat berat, atau kerusakan internal yang tidak lagi optimal untuk diperbaiki, maka service profesional atau penggantian unit genset menjadi solusi terbaik. Pada tahap ini, penggunaan jasa teknisi berpengalaman sangat disarankan agar diagnosis dan tindakan perbaikan dilakukan secara tepat.
Sebagai distributor dan penyedia layanan genset terpercaya, Powerline Genset menyediakan jasa service genset diesel, perawatan berkala, hingga penggantian komponen seperti injektor dan sistem bahan bakar lainnya. Selain itu, Powerline juga melayani penyediaan genset diesel baru dari berbagai merek dan kapasitas sesuai kebutuhan operasional Anda.
Dengan dukungan teknisi profesional serta produk genset berkualitas, Powerline membantu memastikan sistem kelistrikan Anda tetap aman, stabil, dan efisien. Baik untuk kebutuhan service genset diesel maupun pembelian unit genset baru, memilih mitra yang tepat merupakan investasi penting demi kelangsungan operasional jangka panjang.

